軌道螺栓擰緊用液壓扳手
在鐵路配件中的軌道螺栓的最大的作用是在鐵路建設施工的時候要讓它們放到指定的地方。在一般的時候,由于軌道的特殊性我們就比須要把它牢牢的固定在混凝土中才可以。當然了這種鋼都是進行過防生銹處理的。
軌道螺栓擰緊用液壓扳手的出現大大減輕了工作人員手部的負擔,讓他們可以輕松的工作,認真的做好每件事。與傳統扳手相比,軌道螺栓擰緊用液壓扳手是采用高科技的航天材料制成的,直接一體成型,整個扳手的強度都達到新高。

混凝土攪拌站維修用液壓扳手的特點:
● 扭矩范圍廣,型號從110-70660N.m;
● 采用航空級材料,一體成型機身,加強機身強度、韌性;
● 360°×180°旋轉軟管接頭,能在狹小的空間內使用;
● 扳機式鎖扣,輕松按動,可隨心所欲地將360°微調式反作用力臂定于堅固的支點上;
● 采用精密棘輪,輸出扭矩精度高達±3%;
● 止退摯子,防止螺栓扭轉回彈導致的工具逆轉現象,迅速提升螺母鎖緊速度;
空間位置考慮
如果沒有空間限制,哪個型號的扳手都可以使用;驅動式液壓扳手最為通用;如螺栓擰好后露出的螺紋較長或者螺栓上面有空間有限,最好使用中空式液壓扳手;如螺母間距離狹窄,可選用中空式液壓扳手。
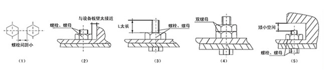
常見螺栓、螺母位置參考:
1、當螺栓間距小
2、螺栓、螺母與設備板壁太近
3、螺栓螺母露出L太長
4、雙螺母
5、螺栓、螺母在矮小空間

螺栓大小
一般有哪幾種螺栓,是公制還是英制。例如M36、M42、M48,這幾種指的是公制螺栓,M36的螺母六角對邊是55,M42是65,M48是75。可選用一種型號的液壓扳手。如螺栓規格跨度太大,而且扭矩跨度較大,那預緊這些螺栓就必然要選用多種型號扳手。
扭矩要求
螺栓的規格、螺栓的強度等級是液壓扭矩扳手選型的最關鍵參數。螺栓不同,扭矩不同,同樣的螺栓強度等級不同扭矩不同,同樣螺栓強度等級,不同工況的扭矩也不同。如M36螺栓,強度等級8.8 級,扭矩1764Nm;強度等級10.9. 級,扭矩2453Nm;強度等級12.9.級,扭矩2940Nm 每個行業不同,螺栓等級強度不同,具體情況具體對待。
同類文章排行
- 數顯電動定扭矩扳手,數控伺服電動力矩槍,電機擰緊機,電動擰緊
- 波霆代理德國原裝進口液壓扭力扳手,數顯充電,氣動,電動定扭矩
- 如何選擇液壓螺栓拉伸器?
- 氣動扳手原理和結構圖詳解
- 電動扳手48v與88v區別
- 液壓螺栓拉伸器預緊力、拉力和扭矩的計算
- 氣動扭矩扳手的保養方法
- 世界液壓扳手10大品牌排行榜
- 液壓扳手的螺栓扭矩選擇
- 氣動扳手扭力對照表
最新資訊文章
- 鋰電池扭矩扳手同步預緊螺栓的注意事項
- 閥門螺栓緊固:液壓扳手還是電動扳手?
- 易燃易爆環境如何選防爆液壓螺栓拉伸器?
- 液壓螺栓拉伸器的特點與使用指南
- 海洋工程用液壓扳手與螺栓拉伸器選擇要點詳解
- 液壓螺栓拉伸器常見問題及解決方案
- 液壓拉伸器:螺栓緊固的高效工具
- 液壓螺栓拉伸器原理詳解:緊固秘訣
- 如何選擇適合你的液壓螺栓拉伸器
- BOLTING博霆為客戶提供壓力球罐底部法蘭完整性管理服務
- 導致液壓扳手棘輪棘爪出現切齒損壞的原因有哪些?
- BOLTING博霆鋰電池扭矩扳手適合用在哪些行業呢?
- BOLTING博霆鋰電扭矩扳手批量投入石化檢修領域
- 防爆液壓扭力扳手使用維護注意事項
- 液壓扳手密封有損壞是全套換還是只換損壞的?
- 液壓扭矩扳手:螺栓安裝與拆卸的得力助手
- 液壓螺栓拉伸器使用方法
- 鋰電池定扭矩扳手無線數據傳輸
- 液壓扭力扳手是石油機械裝配的得力助手
- 為什么新的液壓扳手泵站測試完需要放掉油再發貨呢?




